Orgelbauer, anonym ca. 1480

Startseite
Neu auf unserer Seite
Wir über uns
Wozu Orgelwissenschaft
Aktivitäten
Publikationen
Downloads
Blog Orgelwelt aktuell
Orgeltechnik
Orgeldisposition
Orgelgeschichte
Orgelstimmungen
Orgelregistrierung
Literatur Orgelbau
Literatur Orgelmusik
Literatur Orgelakustik
Kontakt
Links


Walcker-Stiftung für orgelwissenschaftliche Forschung

www.walcker-stiftung.de

Technik der Orgel

von Roland Eberlein

Zurück zur Einführung
Zurück zu I. Windladenkonstruktionen und Trakturtypen
Zurück zu II. Pfeifentypen

III. Winderzeugung

Das Windsystem der Orgel besteht einerseits aus dem Gebläse, das Wind generiert, andererseits aus den Windkanälen, welche den Wind zu den Laden leiten. Die Windkanäle sind häufig mit Vorrichtungen versehen, welche den Wind entweder gleichmäßiger machen sollen (Ausgleichsbälge), oder den Wind mit Druckschwankungen versehen, um dem Pfeifenklang zitternd zu machen. Solche Vorrichtungen werden als Tremulant bezeichnet. Im Folgenden werden daher behandelt:
1. Gebläsetypen
2. Tremulanten

1. Gebläsetypen

Im Laufe der Geschichte der Orgel lassen sich mindestens fünf unterschiedliche Typen der Winderzeugung unterscheiden:
a. Wasserorgel der Antike
b. Keilbälge
c. Kastenbälge
d. Magazinbalg mit Schöpfer
e. Schleudergebläse und Schwimmerbalg

a. Wasserorgel der Antike

Die Wasserorgeln der Antike besaßen zur Erzeugung des benötigten Winds eine oder zwei große Kolbenpumpen. Um die Windzufuhr zu den Pfeifen stetig zu machen und jene Zeit zu überbrücken, in der eine Pumpe wieder aufgezogen werden muß, wurde die Luft nicht unmittelbar in die Lade geleitet, sondern in eine Glocke, die in einem Wasserbehälter unter Wasser positioniert wurde. Die Luft aus der Kolbenpumpe verdrängte dann Wasser aus der Glocke, während dem erneuten Aufziehen der Pumpe wurde dieser Luftvorrat durch das Wasser in die Lade gedrückt - daher auch die Benennung des Instruments als Hydraulos (Wasser-Aulos) oder später Organum hydraulicum (Wasserorgel).

Doppel-Wasserorgel. Quelle: Utrechter Psalter (Utrecht, Universitätsbibliothek Ms. 32), fol. 83r

Diese Darstellung einer Doppel-Wasserorgel stammt aus dem Utrechter Psalter, der in der Gegend von Reims im 9. Jahrhundert unter byzantinischem Einfluß entstanden ist. Jeder Teilorgel sind zwei Kolbenpumpen zugeordnet, der Wasserbehälter ist eine Art runde Tonne, aus dem der obere Teil der Glocke herausragt.

b. Keilbälge

Transportable Orgeln wurden schon in der Spätantike mit einer Anzahl von Schmiedebälgen in Keilform versehen. Auch die mittelalterliche Orgel wies zunächst diese Art der Winderzeugung auf, wie historische Darstellungen belegen, z.B. diese aus dem 12.(?) Jahrhundert:

Mittelalterliche Tonschleifenorgel mit Schmiedebalg. Quelle: Codex München, Universitätsbibliothek, 4° Cod.ms.24, fol. 2r

Da Schmiedebälge von Hand zusammengedrückt werden, bestimmte der Kalkant den Winddruck. Einen Zwischenspeicher, der den Winddruck stabilisiert hätte, gab es nicht. Zur Verstetigung des Orgelwindes wurden die Orgeln mit vielen Bälgen ausgestattet. Dennoch konnten wohl nur sehr erfahrene und geübte Kalkanten einen einigermaßen gleichmäßigen Wind des richtigen Drucks erzeugen. Der Klang der mittelalterlichen Orgel muß der Winddruckschwankungen wegen immer etwas jaulend gewesen sein - das war wohl Teil des damaligen Orgelstils.

Ein Problem war das Leder zwischen den beiden Platten eines Schmiedebalges, das sich beim Zusammendrücken in Falten legte und dort frühzeitig brüchig wurde. Überdies wurde das Leder rasch von Mäusen und Ratten angenagt und gefressen. Diese Probleme wurden im Spätmittelalter durch Erfindung des Spanbalgs oder Keilbalgs minimiert: Das Leder wurde größtenteils ersetzt durch keilförmig zugeschnittene Bretter ("Späne"), die so mit Hilfe von Lederstreifen miteinander verbunden wurden, daß sie sich in Falten zusammenlegen und wieder auseinanderziehen ließen.

Ferner wurden im Spätmittelalter die Bälge größer gemacht und nicht mehr von Hand zusammengedrückt, sondern mit einem Gewicht belastet, da sich so automatisch ein recht stetiger Winddruck ergab. Als Beschwerung der Balgplatte bot sich das Eigengewicht des Kalkanten an, sofern die Bälge groß genug waren. Der Kalkant mußte dazu nur auf dem Balg mit einem Fuß stehen und ihn mit diesem Fuß aufziehen und niederdrücken. Eine Anlage mit solchen Spanbälgen, die von den Kalkanten mit den Füßen aufgezogen und zusammengedrückt wurden, besaß die Halberstädter Domorgel von 1361 nach einer Erneuerung 1495. Sie existierte noch um 1600 und wurde von Michael Praetorius 1619 beschrieben und abgebildet:

Halberstadt, Dom, Bälge der Orgel von Nikolaus Faber 1361 und Gregor Kleng 1495.
Quelle: Michael Praetorius, Syntagma musicum. Teil 2: De Organographia. Wolfenbüttel 1619, Tafel XXVI

Natürlich hängt in diesem Fall der Winddruck, den ein Balg produziert, vom Gewicht des Mannes ab, der ihn tritt. Das führt zu Problemen, wenn die Kalkanten sehr unterschiedlichen Gewichts sind. Folglich wurden später die Bälge mit Gewichten belastet und mittels eines Holzbalkens unter Ausnutzung der Hebelwirkung aufgezogen, wie die folgende Darstellung von Dom François Bédos de Celles 1766 zeigt:

Spanbälge. Quelle: François Bedos de Celles, L'art du facteur d'orgues. Bd. 1, Paris 1766, Tafel LII

Auch diese Anlage lieferte keineswegs völlig gleichmäßigen Winddruck: Im aufgezogenen Zustand steht die obere Balgplatte schräg und ein Teil des Gewichts wird vom Scharnier getragen. Der Druck im Balg ist mithin bei voll aufgezogenem Balg kleiner als bei horizontaler Balgplatte. Im 18. Jahrhundert versuchten deutsche Orgelbauer dies durch ein sogenanntes Gegengewicht zu beheben: ein Gewicht, das an einem senkrechten Stab auf- und abglitt und mit einem Seil an die obere Balgplatte gebunden war. Natürlich brachte dies keine Verbesserung. Eine Verringerung der Druckveränderung lies sich jedoch erzielen, indem man den Balg nicht horizontal lagerte, sondern die Unterplatte am Scharnier höher legte als am hinteren Ende, so wie dies im obigen Bild der Fall ist. Eine weitere Möglichkeit war, die bewegliche Balgplatte an eine Blattfeder unter dem Balg zu binden, so daß diese beim Aufziehen des Balges aufgebogen wurde und diese Spannung den anfänglichen Druck im Balg erhöhte, so wie das ein Stich von G. C. Fr. Schlimbach 1801 zeigt:

Spanbalg mit Treteinrichtung und Blattfeder-Belastung. Quelle: Georg Ch. F. Schlimbach, Ueber die Structur, Erhaltung, Stimmung und Prüfung der Orgel. Leipzig 1801, Tafel I.

c. Kastenbalg

Auch der Kastenbalg entstand im Zuge der Bemühungen um Beseitigung dieser Druckschwankungen. Er wurde von Jürgen Marcussen um 1819 erfunden und im 19. Jahrhundert häufig gebaut. Der Kastenbalg besteht im Prinzip aus zwei Holzkästen, von denen der eine genau passend im anderen liegt und durch einen Seilzug mit Tretvorrichtung aufgezogen werden kann.

Kastenbalg. Quelle: E. F. Richter, Katechismus der Orgel, 3. Aufl. Leipzig 1885, S. 51

d. Magazinbalg mit Schöpfer

Überdies wurden im Laufe des 19. Jahrhunderts Magazinbälge mit Schöpfer eingeführt: Dabei handelt es sich um einen großen, mit Gewichten beschwerten Parallelfaltenbalg, der aufgeblasen wird durch einen darunterliegenden kleinen Keilbalg mit Treteinrichtung, der in ähnlicher Form auch von Schmieden gebraucht wurde.

Magazinbalg mit Schöpfbalg zum Treten. Quelle: Albert Merklin, Organología. Madrid 1924, S. 119

Magazinbälge liefern zwar sehr gleichmäßigen Wind, reagieren jedoch durch ihre große Masse und die oft große Entfernung von den Laden träge auf die Entnahme von Wind, was Tonbebungen zu Beginn von kräftig registrierten Akkorden oder Pedaltönen zur Folge haben kann. Solche Erscheinungen wurden seit dem späten 19. Jahrhundert durch sogenannte Stoßfängerbälge beseitigt, nämlich kleine Keil- oder Parallelfaltenbälge auf den Windkanälen zu den Laden, die auf das Entweichen von Luft durch die Pfeifen sehr rasch reagieren können und die Zeit überbrücken, bis der große Magazinbalg auf den erhöhten Windverbrauch reagiert hat. Zugleich können diese Bälge als Regulatoren des Winddrucks dienen und den vom Gebläse kommenden Winddruck mit Hilfe eines Drosselventils für die jeweils zugehörige Lade absenken, so daß die Laden einer Orgel mit Wind von unterschiedlichem Druck versorgt werden können. Das Drosselventil eines Regulatorbalgs befindet sich im zuführenden Windkanal und reduziert dessen Querschnittsfläche, durch die Luft zum Regulatorbalg gelangen kann. Es ist mit der Balgplatte durch einen Seilzug verbunden, der über eine Rolle geführt ist. Wenn die Balgplatte absinkt, öffnet der Seilzug auf der anderen Seite der Rolle das Drosselventil und vergrößert die Durchtrittsfläche im Kanal. Wenn die Balgplatte steigt, schließt der Seilzug das Drosselventil und verringert damit die Durchtrittsfläche.

e. Schleudergebläse und Schwimmerbalg

Im frühen 20. Jahrhundert wurde das von einem Elektromotor betriebene Schleudergebläse entwickelt, das heute gemeinhin Ventilator genannt wird: Der Elektromotor läßt ein Rad mit einem äußeren Kranz von schrägstehenden Flügeln in einem runden Gehäuse rotieren. Die Flügel drücken die Luft nach außen in den tangential vom Gehäuse abgeführten Windkanal. Durch eine Öffnung im Gehäuse nahe der Achse strömt Luft nach. Zur Regelung der Windabgabe dient wiederum ein kleiner Magazinbalg mit einem Drosselventil im zuführenden Windkanal. Da Motor und Ventilator Geräusche erzeugen, müssen beide in einem separaten Raum aufgestellt oder in ein gut schallisolierendes Gehäuse eingekapselt werden.

Schleudergebläse. Quelle: Albert Merklin, Organología. Madrid 1924, S. 124 (überarbeitet)

Um den hohen Winddruck, den das Schleudergebläse erzeugt, auf den in den Laden benötigten Winddruck zu reduzieren, wird der vom Schleudergebläse erzeugte Wind zunächst in einen Parallelfalten-Magazinbalg mit Drosselventil geführt, und erst dann auf die Laden verteilt, wobei Winddruckdifferenzierungen mithilfe von Regulatoren möglich sind.

Um den Luftdruck in der Lade völlig konstant zu halten, wurden von den 1930er-Jahren an sogenannte Schwimmerbälge oder Ladenbälge konstruiert: Die Unterseite der Windlade ist mit einer Windkammer versehen, in welcher der vom Gebläse kommende Windkanal endet. Den Boden der Kammer bildet eine bewegliche Platte, die durch Federn nach oben gedrückt wird. Luftentnahmen aus der Kammer werden daher durch die Bodenplatte sofort ausgeglichen.

Schwimmerbalg. Zeichnung: Roland Eberlein

Damit galt um die Mitte des 20. Jahrhunderts das Problem der Winderzeugung als endgültig gelöst: Mit Ventilatoren konnten nahezu unbegrenzte Mengen an Wind beliebigen Drucks erzeugt werden. Mit Schwimmerbälgen und Magazinbälgen konnten selbst kleinste Druckschwankungen verhindert werden. Die Windmenge war folglich bei korrekt berechneten Querschnitten der Windwege immer ausreichend: Selbst bei Clustern mit dem Unterarm auf dem Manual im Tutti aller Register wurde immer genügend Wind produziert, um ein Absinken der Tonhöhe zu verhindern, und es bestand dank der Schwimmerbälge auch niemals die Gefahr, daß durch plötzliche Cluster im Baß ein Ton im Diskant zu beben anfing, also Windstößigkeit auftrat.

Um 1980 wurde jedoch immer mehr Fachleuten bewußt, daß Orgeln mit einer weniger perfekten, altertümlichen Windversorgung oft viel schöner, natürlicher und lebendiger klingen. Nachfolgend entwickelte sich allmählich ein Bewußtsein dafür, wie wichtig die Art und Weise der Winderzeugung und deren technische Realisierung für den Klang des jeweiligen Instruments ist, und daß der jeweilige Typ der Winderzeugung ein wesentlicher Bestandteil des Stils eines Instruments ist, der Auswirkungen auf den Klang und Konsequenzen für die dem Instrument angemessene Spiel- und Kompositionsweise hat. Daher wird heute bei historischen Instrumenten die ursprüngliche Winderzeugung oft wieder rekonstruiert und manchmal werden sogar neu erbaute Orgeln mit Winderzeugungsanlagen nach historischen Vorbildern ausgestattet. Damit ist die Geschichte der Winderzeugung im Orgelbau wieder zu einem Teil des Orgelbaus der Gegenwart geworden.

2. Tremulanten

Eine seit dem frühen 16. Jahrhundert nachweisbare Besonderheit der Windversorgung von Orgeln ist der sogenannte Tremulant: Dabei handelt es sich um eine Vorrichtung, die nach Einschalten durch einen entsprechenden Registerzug regelmäßige Druckschwankungen in der Windzufuhr zu einer einzelnen Lade oder auch zur ganzen Orgel produziert, damit die Pfeifen einen bebenden oder zitternden Ton erzeugen (spätlat. tremulare = zittern, beben). Die Schwankungsfrequenz liegt in der Regel bei etwa 4-5 Perioden pro Sekunde. Der Tremulant ist in den Niederlanden und Frankreich bereits seit den 1530er-Jahren belegt, in Deutschland scheint er spätestens um 1550 bekannt geworden zu sein. Nach 1800 wurde er in Deutschland meist abgelehnt und nur noch zusammen mit dem Vox humana-Register gebaut und gebraucht, doch kam er im frühen 20. Jahrhundert erneut in Gebrauch.

Im Laufe der Orgelgeschichte wurden viele Vorrichtungen ersonnen, die Druckschwankungen erzeugen. Folgende Typen werden im folgenden beschrieben:
a. Der schwache Tremulant (Tremblant doux, Schwebung)
b. Der starke Tremulant (Tremblant fort à vent perdu)
c. Der Wippfedertremulant (Bock)
d. Der Schwimmerbalg als Tremulant

a. Der schwache Tremulant (Tremblant doux, Schwebung)

Der schwache Tremulant oder Tremblant doux, der bereits Mitte des 16. Jahrhunderts in großen Teilen Europas verbreitet war und in Deutschland im 18. Jahrhundert auch Schwebung genannt wurde, läßt keine Luft entweichen, sondern unterbricht vorübergehend die Luftzufuhr zur Lade durch eine Klappe im Kanal. Die Klappe wird von einem Gewicht geschlossen, aber vom Orgelwind wieder geöffnet, sobald eine ausreichende Druckdifferenz zwischen den beiden Seiten der Klappe besteht.

Schwacher Tremulant.
Quelle: Johann Gottlob Töpfer, Die Theorie und Praxis des Orgelbaus. Hg. v. Max Allihn, Weimar 1888, Tafel XLV

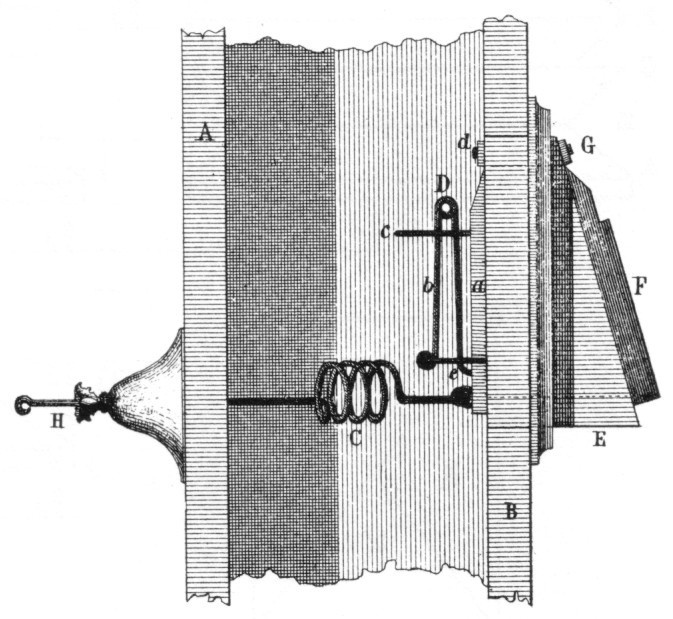
b. Der starke Tremulant (Tremblant fort à vent perdu)

Beim starken Tremulanten oder Tremblant fort à vent perdu, der in Frankreich seit dem frühen 17. Jahrhundert gebaut wird, ist eine Ventilklappe von innen an der Kanalwand platziert. Ist der Registerzug gezogen, wird das Ventil von dem Metalldraht H mit Spiralfeder ein wenig aufgezogen. Die entweichende Luft zieht dann das Ventil wieder zu, wobei sich die Spiralfeder dehnt. Sobald das Ventil geschlossen ist und die Luftströmung aufgehört hat, zieht die Feder das Ventil wieder auf und der Vorgang beginnt von neuem. Die Öffnung im Ventilkanal ist zusätzlich von einer äußeren Ventilklappe abgedeckt, die durch ein Bleigewicht angedrückt wird. Diese verhindert, daß sich das Innenventil auf eine Mittelstellung einpendeln kann. Allerdings verursacht sie auch erhebliche Klappgeräusche.

Starker Tremulant.
Quelle: Johann Gottlob Töpfer, Die Theorie und Praxis des Orgelbaus. Hg. v. Max Allihn, Weimar 1888, Tafel XLV

c. Der Wippfedertremulant (Bock)

Der Wippfedertremulant, auch Bock genannt, wurde in Deutschland vom späten 16. Jahrhundert bis Ende des 18. Jahrhunderts gebaut. Er besteht im Kern aus einem auf- und zuklappenden Ventil am Windkanal, durch das der Wind kurzzeitig entweichen kann. Das Auf- und Zuklappen wird erreicht, indem das Ventil C auf der Deckplatte A eines kleinen Keilbalges am Kanal platziert und mit einem Gewicht an einem Verlängerungsarm des Ventils beschwert ist. Nach dem Öffnen des Ventils B hebt sich die Balgplatte durch den Winddruck soweit dies die Schenkelfeder S zuläßt. Die träge Masse F auf dem Ventil bewegt sich jedoch weiter bis zum Anschlag und öffnet dabei das Ventil C. Der Balg fällt zusammen und wird, nach dem das Gewicht F Ventil C geschlossen hat, von neuem aufgeblasen.

Wippfedertremulant.
Quelle: Johann Gottlob Töpfer, Lehrbuch der Orgelbaukunst. Hg. v. Paul Smets, Bd. 4, Mainz 1960, Fig. 543

d. Der Schwimmerbalg als Tremulant

Die bisher vorgestellten Tremulanten lassen sich nicht anwenden bei Laden mit Stoßfänger- oder Schwimmerbälgen: Die Wirkung des Tremulanten wird dann aufgehoben durch diese Ausgleichsbälge, deren Aufgabe ja ist, den Winddruck zu stabilisieren und alle Windstöße auszugleichen. Ein tremulierender Effekt kann bei Vorhandensein solcher Ausgleichsbälge nur erreicht werden, wenn die bewegliche Balgplatte des Schwimmerbalgs selbst in Schwingung versetzt wird. Dafür gibt es eine Vielzahl von Konstruktionen, z.B. kann ein Elektromotor mit einem Exzenter Vibrationen auf die Balgplatte ausüben, oder ein elektrisch gesteuertes Ventil läßt einen kleinen Arbeitsbalg abwechselnd aufblasen und zusammenfallen; dessen Bewegung wird auf die Platte des Ladenbalgs übertragen.

Zurück zur Einführung
Zurück zu I. Windladenkonstruktionen und Trakturtypen
Zurück zu II. Pfeifentypen

Orgeltabulatur aus dem Buxheimer Orgelbuch, ca. 1460-70

[Nach oben]